时间:2026-02-12 07:26:35 浏览量:
国家知识产权局信息显示,怡达快速电梯有限公司取得一项名为“一种电梯集成驱动结构”的专利,授权公告号CN223892228U,申请日期为2025年1月。
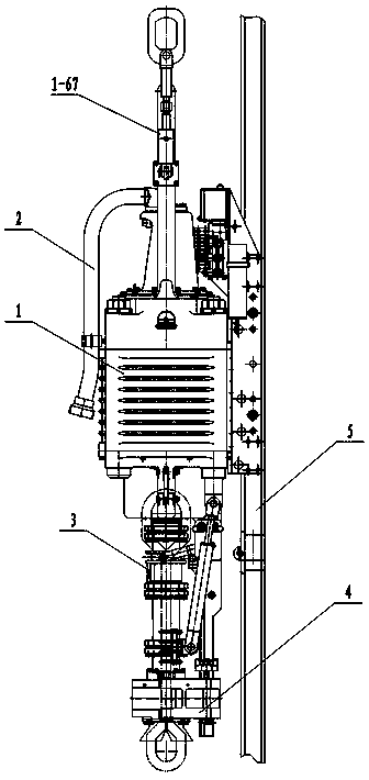
专利摘要显示,本实用新型公开了一种电梯集成驱动结构,包括主机梁(1),主机梁(1)的一端设有主机安装座(2),主机安装座(2)包括平行于主机梁(1)的顶梁(21),顶梁(21)的顶部设有安装座板(22),安装座板(22)上设有曳引机(23),顶梁(21)的底部设有垂直安装于主机梁(1)上且相互平行的第一支梁(24)、第二支梁(25)和第三支梁(26),第二支梁(25)和第三支梁(26)之间设有绳头安装板(3),绳头安装板(3)上设有对重绳头组合(31)。本实用新型具有提高结构强度和运行稳定性,精简结构、方便安装的特点。
天眼查资料显示,怡达快速电梯有限公司,成立于1996年,位于湖州市,是一家以从事通用设备制造业为主的企业。企业注册资本30008万人民币。通过天眼查大数据分析,怡达快速电梯有限公司共对外投资了3家企业,参与招投标项目4327次,财产线条,此外企业还拥有行政许可12个。
声明:市场有风险,投资需谨慎。本文为AI基于第三方数据生成,仅供参考,不构成个人投资建议。
特别声明:以上内容(如有图片或视频亦包括在内)为自媒体平台“网易号”用户上传并发布,本平台仅提供信息存储服务。
美股储能概念股纷纷上涨,Generac涨超12%,GE Vernova涨超5%创历史新高
一场尴尬的闹剧?999元请人“代磕头”拜年尽孝引争议,平台匆忙下架服务项目
复出后首败 郑钦文遭逆转1-2惜败新科澳网冠军 无缘多哈1000赛8强
Counterpoint:130英寸LCD成本跃升,QD-OLED较同尺寸WOLED贵六成
《黑神话:钟馗》贺岁短片公开 / 新一期「State of Play」发布会官宣





